1)一个使用铅酸电池的手电筒,设计的挺好的,家庭必备,有时夏天停电用到,或者需要应急照明,这个灯是4v3000mAh。
设计没有问题,也够亮,led够多。不过晚上临时焊接一个东西需要特别照亮时拿来做台灯,管不了多久时间,因为电筒是作为短时间歇使用的产品。还记得过去使用1号电池的手电吗,要使用一个月呢。
所以电筒这头没问题,是台灯灯珠这边,我想加一个开关,公有18颗灯珠,给他做成5,12,18颗三档,这样更省电。
2)1.5v的碱性充电器,我手里没有1.2v的镍氢充电器,想改为两用。
实测1.5v碱性电池充电时,测量电池两端电压1.65v左右。充电时间的确要很长,充满会亮灯。
补充,亮灯后,仍然有充电电流5-8mA。不知道是不是和铅酸充电器类似,这样长期不取下来,也不太好。
资料:碱性电池的标称电压为1.5V,但充电截止电压需设定为1.7V,推荐电流50mA,充电前需确保电池电压不低于1.3V。说是通常仅支持30-50次循环。不过现在干电池很贵啊,循环电池几十次就值了。
而1.2v镍氢的充电电压最高不超过1.45,所以需要加一个降压措施。但是差距也不是太大。可以想办法。
资料:镍氢电池的充电电压通常为1.4V至1.5V,标称1.2v。我们按1.43~1.45V吧。安全。
另外,5号碱性电池的典型容量通常在1800mAh至3000mAh之间。我的7号镍氢是在1000mAh,5号镍氢是1300mAh。
所以我们就按碱性的50mA吧。也就是镍氢的0.05C电流。
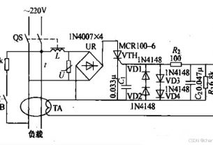
3)德生PL450专用充电器DC-06的输出为6.0v,可以给三节电池的收音机使用,但是:给PL600充电时,只能冲几十分钟就满,用一会就没。在PL450上面可以充六七个小时。
所以打算拆开将LM7806的地端电压提升一个二极管。供电输出6.6v。解决这个问题。不过如果3节电池的收音机内部没有再次稳压,只靠这个适配器控制电压的话,那还是给充电器做一个转换开关为好。因为平时用的PL600,9700dx和450这些机器只是偶尔对比使用。
